- Обзор
- Отзывы (0)
Описание
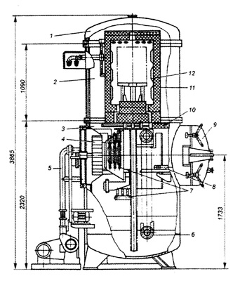
Схема

Конструкция:
1. Крышка
2. Камера нагревательная
3. Камера охлаждения
4. Механизм вращения
5. Вакуумная система
6. Механизм подъема садки
7. Охладители
8. Загрузочная тележка;
9. Загрузочный люк
10. Шторки
11. Футеровка
12. Нагреватели
Технические характеристики
Детали
| Мощность установления | кВт | 95 |
| Номинальная мощность | кВт | 75 |
| Номинальная температура | °С | 1150 |
| Предельно остаточное давление в холодном состоянии | Па | 1,33×10-1 |
| (мм рт. ст.) | (10 ‑3) | |
| Размер рабочего пространства: | ||
| диаметр x высота | мм | 500 x 500 |
| Габаритные размеры: | ||
| высота | мм | 3865 |
| в плане | мм | 3215×3072 |
| Среда в рабочем пространстве | Вакуум | |
| Масса садки | кг | 200 |
| Масса садки при ускоренном охлаждении в газе | кг | 100 |
| Номинальное напряжение питающей сети | В | 380/220 |
| Номинальная частота тока | Гц | 50 |
| Число фаз нагревателя | 3 | |
| Расход воды при нагреве | м3/ч | 1.8 |
| Расход воды при закалке в газе | м3/ч | 6.4 |
| Масса электропечи | т | 6.4 |
| Условия эксплуатации | Электропечь рассчитана для работы в условиях умеренного климата при температуре от 5 до 35 °С, относительной влажностью воздуха не выше 80 % при 20 °С и не более 50 % при 35 °С. Комплектность поставки включает ЗИП и эксплуатационные документы. |
|---|---|
| Структура условного обозначения | С – нагрев сопротивления |
| Сфера применения | Термообработка,Отжиг и закалка |
0.0
общая оценка
Всего 0 отзывов
Отзывов нет



