- Обзор
- Отзывы (0)
Описание
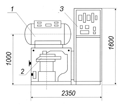
Схема

Конструкция:
1. Панель управления
2. Камера нагревательная
3. Щит управления
Технические характеристики
Детали
| Мощность установления | кВт | 20 |
| Номинальная мощность (нагрев камеры) | кВт | 18 |
| Номинальная температура | °С | 1600 |
| Среда в рабочем пространстве | Вакуум | |
| Предельное остаточное давление в холодном состоянии | Па | 6,65×10 ‑3 |
| (мм рт. ст.) | (5×10 ‑5) | |
| Размер рабочего пространства: | ||
| ширина | мм | 100 |
| длина | мм | 300 |
| высота | мм | 100 |
| Габаритные размеры: | ||
| ширина | мм | 1450 |
| длина | мм | 1800 |
| высота | мм | 1850 |
| Масса садки | кг | 15±0,3 |
| Номинальное напряжение питающей сети | В | 380/220 |
| Номинальная частота тока | Гц | 50 |
| Полный установленный ресурс нагревателей | ч | 800 |
| Число фаз | 1 | |
| Расход воды на охлаждение | м3/ч | 0,8±0,1 |
| Стабильность поддержания номинальной t° при управлении нагревом системой автоматического регулирования | °С | 5 |
| Масса электропечи | т | 0.95 |
| Условия эксплуатации | Электропечь рассчитана для работы в условиях умеренного климата при температуре от 5 до 35 °С, относительной влажностью воздуха не выше 80 % при 20 °С и не более 50 % при 35 °С; во взрывоопасной среде, не содержащей агрессивных газов и паров, не насыщенной водяными парами и токопроводящей пылью. Комплектность поставки включает ЗИП и эксплуатационные документы. |
|---|---|
| Структура условного обозначения | С – нагрев сопротивления |
| Сфера применения | Дегазация материалов, Спекание металла, Отжиг и закалка |
0.0
общая оценка
Всего 0 отзывов
Отзывов нет





